王思聰又一次霸占熱搜,這次是因為上海破產法庭“官宣”的一筆拍賣。

添加微信好友, 獲取更多信息
復制微信號
1月28日,上海破產法庭召開線上新聞發布會,通報2020年度案件辦理情況,其中一個典型案例就是王思聰旗下的上海熊貓互娛文化有限公司(下稱熊貓互娛),近9000件庫存貨品網拍3103.89萬元,溢價率高達991%。
一款禮盒賣出5289元
阿里拍賣網顯示,一筆拍賣引來16072次圍觀,不過,參與競拍的僅有2人,競拍次數卻有823次,從10月14日晚6點多持續到次日晚8點半。這筆資產評估價為352.48萬,起拍價為284.50萬,最終拍賣價高達3103.89萬,溢價率高達991%。
什么資產的溢價率這么高?
上海市第三中級人民法院發布的公告顯示,本次拍賣標的為上海熊貓互娛文化有限公司名下的部分知識產權及剩余存貨整體打包拍賣。分別為:222項注冊商標及部分商標申請權、11件美術作品、6項類似攝制電影方法創作作品、11項軟件著作權、19個域名、硬盤及源代碼、9000余件存貨商品。
其中,部分存貨為熊貓TV絕版周邊,包括2509個帆布袋、1134個馬克杯、3206個手機殼等共計9062件周邊,估值12.56萬元。
早在2020年6月,熊貓互娛就對其周邊產品進行過一次拍賣,主要標的為周邊禮盒、福袋、馬克杯、手機殼等。這些限量款周邊受到熱捧,最后也是高溢價率拍出。其中,一款禮盒起拍價為500元,最終成交價5289元,溢價率達958%;一個起拍價150元的福袋賣出2020元,溢價率1246.67%。

圖片來源:阿里拍賣網
天眼查數據顯示,熊貓互娛成立于2015年7月,其運營的直播平臺熊貓直播曾占盡風頭。作為王思聰旗下電競事業的重要部分,王思聰對熊貓直播花費大量心血,斥巨資挖來PDD等王牌主播,請來了林俊杰、鹿晗、Angelababy等人氣明星站臺,其本人還多次在微博上為熊貓直播造勢。因有王思聰作背書,且投資方持續“燒錢”,熊貓直播紅極一時。
不過,2019年3月,熊貓直播因資金緊張關閉,引發與投資者和旗下主播的債務糾紛,導致王思聰多次被上海市寶山區人民法院列為被執行人,限制高消費。2020年1月份,熊貓互娛進入實際破產清算程序。
盡管熊貓互娛創業投資失敗,網友卻“酸”了:“這下好了,只能回去繼承億萬家產了,可憐?!?/p>
天眼查顯示,就在不久前的1月14日,萬達產業投資有限公司成立 ,注冊資本1億元人民幣,法定代表人王健林,持有98%股份,王思聰為董事,持有2%股份。
圖片來源:微博
普思資本被拖累 股權曾多次遭凍結
2009年,王思聰創辦北京普思投資有限公司(以下簡稱“普思資本”),據普思資本發布的公告,投資熊貓互娛損失近20億元,這筆巨額虧損由普思資本及實控人王思聰自己承擔。
普思資本的英文名“Prometheus”來源于希臘語,意思是“深謀遠慮”。據其官網披露,普思資本專注于投資互聯網、科技、消費領域早期和成長期機會的投資機構,共管理4期人民幣和美元基金,累計管理資產規模超過10億美元。旗下的基金投資過近80個優質項目,包括美團、得物、閃送、摩天輪、海豚家、樂樂茶、Palantir、Magic Leap、Gusto、紫晶存儲等。截至2020年6月,基金已完成超過30個項目的退出。普思資本早年投資的紫晶存儲在2020年2月登陸科創板,目前總市值近70億元。普思資產管理持股比例為3.7%,在公司前十大股東之列。
普思資本所投企業
圖片來源:普思資本官網
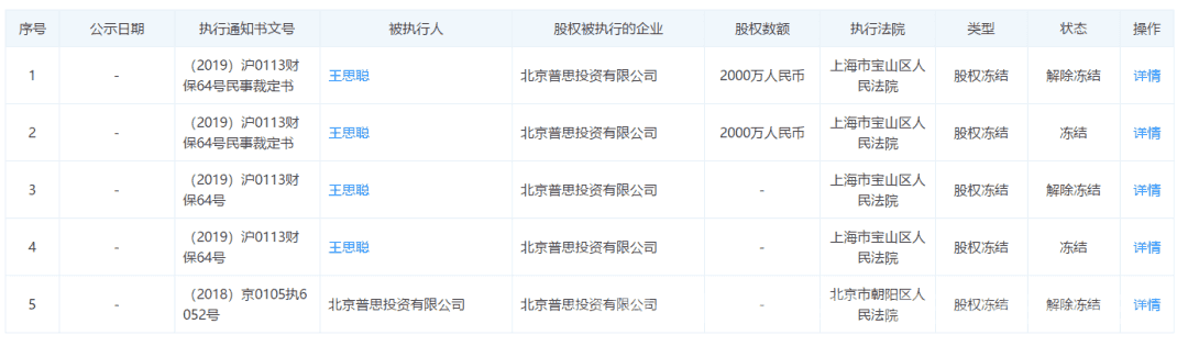
2019年以來,熊貓直播背后主體公司熊貓互娛被法院列為失信被執行企業,王思聰被法院列為被執行人,被限制高消費,名下房產、汽車、存款被查封,且名下多家公司股權被凍結。
天眼查數據顯示,普思資本曾多次被法院執行股權凍結,王思聰被列為被執行人。






